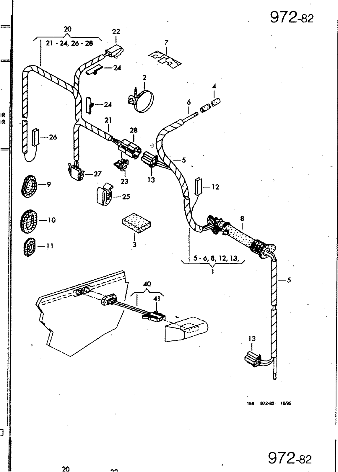
972 82 21 24 26 28 24 24 28 26 27 23 13 9 12 25 10 5 6 8 12 13 y 40 41 13 5 isa Mwe loas 20 972 82 HAUPTGRUPPE 9 ELEKTRISCHE AU5RUESTUNG BILD ERSATZTEILE NR BENENNUNG BEMERKUNG ST MODELL 1 1 1 Z Z4 9 10 IZ 13 13 ZO GNO 971 145 C 6N0 971 145 D GNO 971 145 L N 906 661 01 867 955 499 533 862 225 533 863 288 A 6N0 971 792 6N0 971 840 IHO 971 848 F IHO 971 908 E 333 971 904 A 701 971 910 IHO 971 921 A IHO 972 755 IJO 973 333 6NQ 971 147 C LEITUNGSSATZ HINTEN F GN X 308 000 LEITUNGSSATZ HINTEN LEITUNGSSATZ HINTEN FUER FAHRZEUGE MIT NAVIGA TIONSSYSTEM LEITUNGSSATZ HINTEN F 6N X 308 001 LEITUNGSSATZ HINTEN EINZELTEILE KABELBINDER FUER 8LECHSTAERKE UNTERLAGE SCHLAUCH FILZSTREIFEN SELBSTKLEBfND BESTELLEINHEIT 25 ROHR SIEHE BILDTAFEL ABDECKUNG KLAPPE HINTEN F GN S 045 001 TUELLE LEITUNGSSATZ FUER KLAPPE HINTEN KABELHALTER STOPFEN SAEULE C STOPFEN KLAPPE HINTEN STOPFEN KLAPPE HINTEN F 6N 6 045 000 FLACHSTECKHUtLSENGEHAEUSE RUECKBLICKSCHEIBE BEHEIZBAR FLACHKONTAKTGEHAEUSE F 6N X 308 000 LEITUNGSSATZ FUER INNENRAUM LEITUNGSSATZ FUER KLAPPE HINTEN FLACHKONTAKTGEHAEUSE F 6 X 308 001 LEITUNGSSATZ FUER INNENRAUM LEITUNGSSATZ FUER KLAPPE HINTEN LEITUNGSSATZ FUER KLAPPE HINTEN 4 5X200 0 5 1 5 3 5X540 Z0X3X880MM 5X1X5600MM 862 00 6MM 30X20X16 Z2 5 38 5 28X14 1 POLIG 5 PfllG 5 POLIG LEITUNGSSATZ FUER KLAPPE HINTEN 6N X 308 000 D ZO GNO 971 147 H 972 82 0 9 120 I LEITUNGSSATZ FUER KLAPPE HINTEN F GN X 308 001

Vorschau Polo Mod 95-99 Seite 951
Hinweis: Dies ist eine maschinenlesbare No-Flash Ansicht.
Klicken Sie hier um zur Online-Version zu gelangen.